莱芜区G205国道马龙崮村至和庄镇路段全长9公里,,,,沿线经过马龙崮村、、北苗山村、、下崖村、、上佛羊村等十几个村落是周边居民外出的主干线道路,,沿线周边北苗山水库、、奇石林,,养蜂场等景观旅游人数较多,,,该路段摩托车、、、农用车、、公交车、、、货车、、私家车等车流量较大,,,并且区域内群山环绕,,,气温低,,,,时常会出现大雾等极端天气外加滑塌、、、、滑坡、、、、落石等地质灾害时常发生,,,,造成道路中断,,,影响出行。。。。
虽然该区域部署了凹凸镜,,,,标志牌等信息引导设施,,但是无法及时帮助驾驶员获取弯道对向来车的信息,,,,在面对极端恶虐天气气象的时候无法及时迅速的将信息传递给驾驶员,,,,未能快速的对路段进行有效的管控,,容易造成人员的伤亡事故。。。

为最大程度减少交通事故发生,,,针对该路段的现状结合交通运输部关于《“十四五”公路养护管理发展纲要》提升公路安全保障水平以及公安部“十四五”重大工程项目“道路交通安全提升工程”“公安交通管理设施赋能提质工程”为基准,,,,济南市公路局、、、莱芜区公路局、、、莱芜区交警大队等部门调研走访之后决定采用尊龙时凯(西安)信息科技有限公司提供的御驾通智慧化行车预警系统

该系统采用“1对2”的模式互动,,,当A.B设备采集端检测到车辆的信息时,,,通过远距离局域网无线通讯的方式将信息传递到C设备上,,,,C设备进行声光预警如“前方来车,,,,谨慎驾驶”等,,,当C设备采集端检测车辆驶入的信息,,,,通过远距离局域网无线通讯的方式分别传递到A.B设备上进行声光预警。。。。
【G205国道现场视频】
【御驾通】智慧行车预警系统采用物联网、、、云计算、、人工智能、、即时通讯等技术,,,,在弯道入弯处安装智慧化弯道预警装置,,,基于雷达微波检测技术,,,实时获取过往车辆信息、、速度和行驶数据,,依托超频通讯装置发送信息到对向车道入弯处的弯道智能预警装置,,通过预警屏文字提示和语音播报的方式,,,,使得驾驶员在进入弯道前就能了解到前方对向车道的交通数据,,,,起到及时警示作用。。
同时系统还具备远程视频监控、、、超速预警抓拍、、、气象监测、、、、事故分析、、、地质灾害预警等功能。。



产品特点
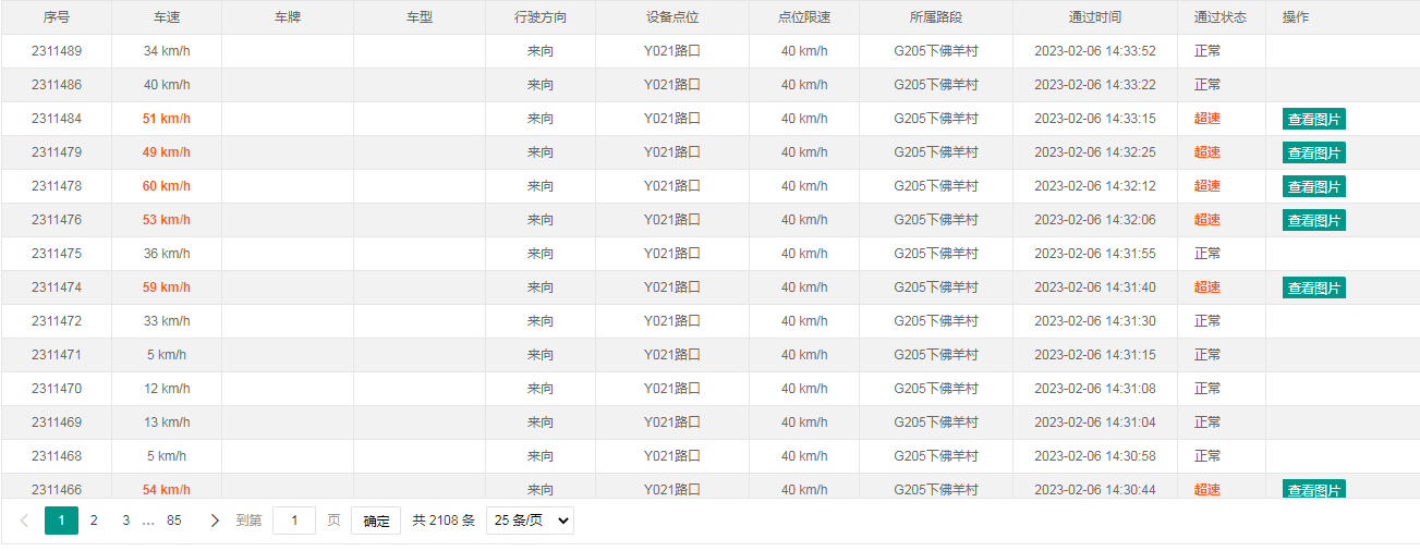
所有监测数据通过5G网络,,,实时上传至云服务器,,,,管理部门可通过云平台可查看所有道路任一时间段行车数据:

【图-交通监测数据】
可按照日期进行行车数据统计:

【图-过车量日期统计】
可分段分析交通数据高峰时段及交通量走势:

【图-过车量时间统计】
可实时查看现场视频画面:

【图-实时视频监控】
并且支持指挥中心大屏数据呈现:

【图-指挥中心大屏】
同时系统支持多级别管理,,,可在省(区)-市-县-路任一管理层级实现多维度交通数据分析并呈现给相关管理人员,,并且可实现与第三方平台、、、交通指挥平台等数据共享。。。。

莱芜区G205国道在安装智慧化行车安全预警系统后,,,,当对向盲区有车辆驶来时,,会提前发送语音和文字预警,,当驾驶员超速行驶,,,系统也会及时文字及语音预警,,,,当车辆行驶至学校附近系统亦可自动提示,,,,当遇到极端交通气象时,,系统同样会第一时间预警驾驶人员,,,并且公路管理部门人员可在平台自定义其他预警事件,,,使得管理更加灵活、、、全面。。。。

该系统无需人员值守,,无需人工干预,,可对弯道以及平交路口等复杂路段实现7×24小时不间断的监测,,,预判危险系数,,,联动智能路端设备及时预警,,实现全天候安全行车智能预警工作。。。

根据实际行车数据分析不难发现,,自从系统上线后,,,,各路段行车超速占比明显下降,,,,这在很大程度上为交通事故的减少提供了根本性可能。。。

御驾通智慧化行车安全预警系统的上线帮助莱芜区公路局实现了道路管理的智慧化升级,,高度符合文件要求。。。。
系统推进了公路视频云平台、、交调系统及数据平台建设,,,自动收集完善公路基础设施及路网运行管理动态数据,,,有效的帮助主管单位对道路交通基础数据归集;
系统充分运用卫星遥感、、北斗定位、、、、机器视觉、、、物联网监测、、、、超频通讯、、、、大数据等技术手段以数字化引领公路养护管理转型升级,,逐步实现对公路网全要素动态信息的数字化呈现和精细化管理,,,,为车路协同、、北斗应用、、、、自动驾驶等提供基础支持,,,,提升了养护管理数字化水平;
系统通过数字化提高路网运行监测管理与服务能力,,推动路网运行感知网络与公路基础设施建设改造工程同步规划、、、、同步实施,,,在重点运输通道和节点布局完善感知设备设施,,,,实现对路网全天候、、、多要素的状态感知。。推动了路网运行监测管理与服务平台建设以及路网运行状况基础数据分析应用。。推动实现智能监测与预警、、、实时交通诱导、、、、路网协同调度和出行服务引导,,,提升了监管和服务效能,,,,推进了路网运行管理数字化;
通过采集及存储的大量交通数据及气象数据为强化科学养护决策提供了强有力的数据支撑;
系统实现了公路安全设施和交通秩序管理精细化,,,提升了公路安全防护能力,,,,改造了弯道及普通国省道穿城镇路段和平面交叉路口等关键节点,,,大力推进了道路安全生命防护工程实施,,全面提升公路安全保障水平。。。
总而言之,,,,莱芜区引进御驾通-智慧化行车管理系统,,,,在更好的实现了道路交通安全有序管理、、、保障驾驶人生命和财产安全目标的同时,,,更是大幅提升了道路数字化管理水平,,预示着道路管理达到了一个前所未有的新高度。。。。
Copyright © 2002-2021 尊龙时凯(西安)信息科技有限公司 版权所有 备案号:陕ICP备2022007478号